你的位置:世博体育官网2024安卓最新版_手机app官方版免费安装下载 > 新闻 > 世博体育登上福布斯中国富豪榜;彼时-世博体育官网2024安卓最新版_手机app官方版免费安装下载

新闻
世博体育登上福布斯中国富豪榜;彼时-世博体育官网2024安卓最新版_手机app官方版免费安装下载
发布日期:2024-06-30 06:12    点击次数:87

  起原:独角金融

  作家 | 郑理

  青岛前首富姜俊平控股的巴龙海外集团有限公司(下称“巴龙集团”),又拍卖了青农商行(002958.SZ;或称“青岛农商行”)5512万股股权。

  5月20日,因债务原因,青岛市崂山区东谈主民法院对青岛农商行鼓舞巴龙集团所握该行的5512万股份在阿里巴巴拍卖平台被公法拍卖,本次拍卖所展示的评估价钱为1.49亿元,起拍价1.55亿元。经过一天的竞逐,在3名出价者中,上海楷巨信息科技有限公司(下称“楷巨信息”)以出价1.56亿元竞拍到手。

  而让外界兴趣的是,姜俊平旗下的“巴龙系”,频年握有青岛农商行的股权频遭拍卖,背后究竟出了什么事?此外,“巴龙系”2022年从青农商行借来的近9亿元资金,照旧过期一年之久,对于资金链垂危的“巴龙系”而言,与青农商行的借款要靠什么偿还?

  1

  买家半年内3次竞拍,握股2家上市公司

  银行看成吸纳资金的格外金融机构,其鼓舞股权的变动当然会受商场高度讲理。

  这次“巴龙系”拍卖波及的股份,占巴龙集团所握青岛农商行全部股份比例为42.1%,占青岛农商行全部股份比例为0.99%。

  这并非巴龙集团初度拍卖青岛农商行股份。

  2023年5月24日,青岛农商行公告称,因债务问题,青岛市黄岛区东谈主民法院公开拍卖了该行鼓舞巴龙海外集团有限公司、巴龙海外诞生集团有限公司所握该行的部分股份,波及巴龙集团握有的6012万股股份,占青农商行总股本的1.08%;以及巴龙诞生握有的1873万股股份,占青农商行总股本的0.34%。不外,其时的拍卖因为无东谈主出价而流拍。

  2023年12月16日,巴龙海外集团握有的青岛农商行3400万股无穷售畅达股被挂上京东公法拍卖平台,该笔股权经过237轮垂危竞拍,最终拍出了8719.1万元的价钱。

  这次股权拍卖到手后,后续还有缴款、股权变更等顺序。

  独角金融梳剃头现,接盘方楷巨信息成就于2017年9月,主买卖务为软件开辟和信息时候做事,公司由两名当然东谈主鼓舞握股,实控东谈主为郑志坚,握股比例70%,吴晓敏握股30%。2021年-2023年,公司参加交纳社保东谈主数仅有2东谈主。

  楷巨信息通过竞拍成为公司鼓舞的事件,并不啻这一谈。

  *ST榕泰线路的一份引申裁定书夸耀,兴业银行汕头分行就其与*ST榕泰(维权)、*ST榕泰旗下公司、揭阳市旺盛化工原料有限公司、揭阳泰禾房地产开辟有限公司等借款纠纷案,向法院肯求拍卖旺盛化工握有的*ST榕泰1667万股无穷售畅达股票,2023年12月19日,楷巨信息以5895.58万元的出价竞得该笔股权。

  同期,该鼓舞又因与工商银行揭阳分行存在借款纠纷,以839.8万元竞得231.42万股股权。股权转让完成后,楷巨信息统统握有*ST榕泰2.7%的股份。

  *ST榕泰业务以IDC业务(互联网数据中心)的轻资产运营花式为主。而在发展经由中,公司连接两年年报虚增利润、连接三年功绩耗费(2023年转亏为盈利)、董事长还曾被接受3年证券商场禁入措施等诸多问题爆发后,2023年12月25日,*ST榕泰重整计算赢得揭阳市中级东谈主民法院批准。

  2

  青岛前首富从“买买买”到“断舍离”

  “巴龙系”掌门东谈主姜俊平,曾是青岛前首富。1991年,姜俊平创立专注高端商务衣饰及做事装的巴龙海外套饰集团。1997年,巴龙诞生集团成就,进入房地产开辟、房屋建筑、市政等规模。

  2009年,姜俊平以31.7亿元的资产,登上福布斯中国富豪榜;彼时,阐明公开信息,巴龙集团以大鼓舞身份投资青岛、济南、烟台、潍坊、长岛5家农商行,领有6000亿金融资产;2013年,在“新钞票500位富东谈主榜”出炉,青岛共有3个家眷选入这一榜单中。其中,姜俊平以52亿元的钞票排在第232位,进入到青岛地区首富榜单中。

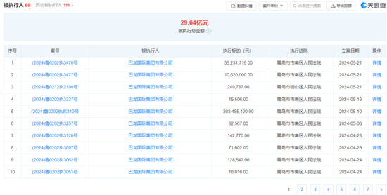
  2022年下半年,“巴龙系”流动性风险徐徐线路。天眼查APP夸耀,仅巴龙集团一家公司,被引申总金额就高达29.64亿元,姜俊平还屡次被法院下达限制花费令,所握青岛农商行、巴龙诞生、巴龙衣饰、巴龙地产等股权夸耀为出质现象。

  2023年3月16日,巴龙集团于公众号“央联万贸”发布一则声鲜昭示,其总资产约为73亿元,其中房产、握有的金融机构股权价值分手约32.8亿元、40.2亿元,金融机构贷款49亿元,欠债率约67%。

  在上述的声明中,巴龙集团曾明确暗意,公司“资产优良、保值升值空间较大,资产远大于欠债,不具备停业重整的条目。咱们一定遵从开心,任重道远,尽快分期偿还通盘债权东谈主的款项。”

  对于酿成公司资金垂危的原因,巴龙集团暗意,2017年,青岛港巴龙生计花费品集散中心面孔启动,为了确保这个民生工程早日建成,巴龙集团在租出的地皮上先行开工诞生,何况将全部解放资金插足面孔诞生。

  巴龙集团进一步指出,由于多种原因,在长达5年多的时刻里,一直莫得治理地皮这一“瓶颈”问题,酿成建筑物和地皮永久分离,面孔无法正常融资,导致公司资金永久垂危,无力偿还面孔工程款和短期拆借的民间借款。

  除了被限制花费,巴龙集团还遭受职工讨薪。2023年1月8日,巴龙集团曾发布《对于集团积极筹措职工薪资的证明函》,对近期未能实时披发薪资向职工们谈歉。

  此外,2023年8月,上海单子交游所发布《截止2023年7月31日握续过期名单》,2023年7月1日开动,巴龙集团握续过期,累计过期发生额为704万元,过期余额为60万元。当月,巴龙海外套饰集团开动握续过期,累计过期发生额约为8126.56万元。

  资金链危急莫得拆除,“巴龙系”旗下银行股权频被拍卖。

  值得谨慎的是,看成青岛农商行以前第三大鼓舞,“巴龙系”两家公司在青岛农商行野心高达9.17亿元的借款过期未还。其中巴龙海外诞生集团波及3.68亿元、巴龙集团借款5.5亿元未还。青农商行向法院肯求强制引申,要求“巴龙系”偿还本金及过期利息、罚息、复利等,并已对上述贷款计提了相应贷款损失准备。

  对于青农商行发布的关系诉讼公告,IPG中国首席经济学家柏文喜曾觉得,这是上市公司波及紧要事件与紧要事项必须的信披包袱,亦然就本身运事迹况、可能的风险向公众投资者的必要通报,是上市公司经管层发奋尽职的使命场地,至于对青农的具体影响还要看诉讼后果何如。

  “巴龙系”在青岛农商行的过期借款,和会过何种面孔偿还?对此,青岛农商行称,“巴龙系”借款前有典质物,但处置资产需要一定的时刻。

  截止2023年末,仅巴龙集团还握有青岛农商行1.65亿股股份,且均处于质押、绚丽或冻结现象。

  3

  青岛农商行资产质料晋升

  青岛农商行成就于2012年6月,是在原青岛华丰、城阳、黄岛、即墨农村协作银行和胶州、胶南、平度、莱西农村信用社纠合社以及青岛市联社基础上,以新设兼并面孔组建而来。2019年3月在深交所上市,成为寰宇最年青的A股上市行。

  据2023年报信息夸耀,青岛国信发展(集团)有限包袱公司握股9.08%,青岛城市诞生投资(集团)有限包袱公司握股9.05%,分手为第一、二大鼓舞,巴龙集团以2.97%的握股比例,位列该行第七大鼓舞。在此之前,巴龙集团和巴龙海外曾野心握股7.16%,位列该行第三大鼓舞。

  从功绩施展看,该行2023年已毕买卖收入103.25亿元,同比增长3.84%;包摄于母公司鼓舞的净利润为25.68亿元,同比增长10.82%。

  具体看青岛农商行2023年的营收构成,该行利息净收入为买卖收入的主要起原,占总营收的比例为71.2%,利息净收入为73.56亿元,较上年减少4.83亿元,降幅为6.17%。

  对此,青岛农商行暗意,主要原因是由于让利实体经济、商场利率下行、贷款重订价效应、存量房贷利率下调等身分,繁殖资产平均收益率较上年下落0.29个百分点。

  截止2023年末,青岛农商行的资产范围达到4679.37亿元,增长7.62%。进入到2024年一季度末,青岛农商行资产范围为4738.58亿元,较年头增多59.21亿元,增长1.27%。

  2023年,青岛农商行披发贷款和垫款统统为2558.45亿元,四个季度分手增长48.9亿元、66.52亿元、13.75亿元和27.44亿元。截止一季度末,该行披发贷款和垫款总和为2597.8亿元,同比下落近20个百分点,不外较2023年底增多39.35亿元。

  此外,青岛农商行旧年信用减值损失46.62亿元,同比减少0.38亿元。在年报中青农商行暗意,披发贷款和垫款信用减值损失是信用减值损失最大构成部分。2023年,青岛农商行计提的披发贷款和垫款信用减值损失为45.13亿元,较上年同期减少0.85亿元。

  资产质料方面,不良贷款余额与不良贷款率双降。请问期末,青岛农商行不良贷款余额为46.42亿元,较上年末下落6.18亿元,降幅11.75%,不良贷款率为1.81%,较上年末下落0.38个百分点;拨备障翳率237.96%,较上年末提高30.33个百分点。一季度末,该行不良贷款率1.8%,较上年末下落0.01个百分点;拨备障翳率233.17%,较上年末下落4.79个百分点。

  青岛农商行时隔一年,重启分成。年报夸耀,青岛农商行2023年的利润分派预案为计算向平方股鼓舞每10股派发现款红利1元(含税),以该行当今总股本推算,将现款分成5.56亿元,此分成金额位于刻下已线路利润分派预案的A股上市银行的中卑劣。

  看成寰宇最年青的股份行世博体育,明天青岛农商即将走向何方?咱们拭目以俟。你看好青岛农商行吗?驳斥区留言沟通吧。

股市回暖,抄底炒股先开户!智能定投、条目单、个股雷达……送给你>> 海量资讯、精确解读,尽在新浪财经APP

Powered by 世博体育官网2024安卓最新版_手机app官方版免费安装下载 @2013-2022 RSS地图 HTML地图